歡迎來到泰州福聲電子科技有限公司官方網站,這是一家貼片式無源蜂鳴器、高分貝報警器、喇叭廠家、蜂鳴器廠家!
15722819198
產品中心
當前位置:首頁 > 產品中心
  • FUET-8530W

電磁式蜂鳴器FUET-8530W

產品名稱 : FUET-8530W

類型 : 電磁式蜂鳴器

驅動方式 : 無源蜂鳴器

工藝 : 貼片蜂鳴器

尺寸范圍 : 5-10mm

詳細說明:

A. SCOPE 
This specification applies magnetic buzzer, FUET-8530W

B. SPECIFICATION

No.

Item

Unit

Specification

Condition

1

Oscillation Frequency

Hz

2730

Vo-p=1/2duty , square wave

2

Operating Voltage

Vo-p

3 ~ 5


3

Rated Voltage

Vo-p

3.6


4

Current Consumption

mA

MAX. 80

at Rated Voltage

5

Sound Pressure Level

dB

MIN. 90

at 5cm at Rated Voltage

6

Coil Resistance

Ω

20±3


7

Operating Temperature

-30 ~ +70


8

Storage Temperature

-40 ~ +85


9

Dimension

mm

8.5 x 8.5 x H3.2

See appearance drawing

10

Weight (MAX)

gram

0.8


11

Housing Material


LCP( White )


12

Leading Pin


 Plated Brass(Au)

See appearance drawing

13

Environmental  
Protection Regulation


 RoHS


 

C. APPEARANCE DRAWING  

Tol : ± 0.5      Unit: mm


D.TESTING METHOD    
Standard Measurement conditions
Temperature:25±2℃  Humidity:45-65%

Acoustic Characteristics:
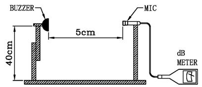
The oscillation frequency, current consumption and sound pressure are measured by the measuring instruments shown below
 
In the measuring test, buzzer is placed as follows:
 
 
E. Typical Frequency Response Curve

 

F. Recommend Driving Circuit 
 
The base current Ib should high enough so that it saturates the collector current of the transistor with the CB load.

 

G. Soldering Condition
(1)Recommendable reflow soldering condition is as follows
(Reflow soldering is twice)
Note:It is requested that reflow soldering should be executed after heat of product goes down to normal.

  Heat resistant line
(Used when heat resistant reliability test is performed)
(2)Manual soldering
   Manual soldering temperature 350 ℃ within 5 sec.

 

H. RELIABILITY TEST

NO.

ITEM

TEST CONDITION AND REQUIREMENT

1

High Temperature
Test (Storage)

After being placed in a chamber with 852℃ for 96 hours and then being placed in normal condition for 2 hours.
Allowable variation of SPL after test: 10dB.

2

Low Temperature
Test (Storage)

After being Placed in a chamber with -402℃ for 96 hours and then being placed in normal condition for 2 hours.
Allowable variation of SPL after test: 10dB.

3

Humidity Test

After being Placed in a chamber with 90-95% R.H. at 402℃ for 96 hours and then being placed in normal condition for 2 hours.
Allowable variation of SPL after test: 10dB.

4

Temperature Cycle
Test

The part shall be subjected to 5 cycles. One cycle shall be consist of:  

Allowable variation of SPL after test: 10dB.

5

Drop Test

Drop on a hard wood board of 4cm thick, any directions ,6 times, at the height of 75cm .
Allowable variation of SPL after test: 10dB.

6

Vibration Test

After being applied vibration of amplitude of 1.5mm with 10 to 55 Hz band of vibration frequency to each of 3 perpendicular directions for 2 hours .
Allowable variation of SPL after test: 10dB.

7

Solderability
Test

Lead terminals are immersed in rosin for 5 seconds and then immersed in solder bath of +3005℃ for 31 seconds .
90% min. lead terminals shall be wet with solder
(Except the edge of terminals).

8

Terminal Strength
Pulling Test

The force of 9.8N(1.0kg) is applied to each terminal in axial direction for 10 seconds.
No visible damage and cutting off.

TEST CONDITION. 
Standard Test Condition              :      a) Temperature : +5 ~ +35℃  b) Humidity : 45-85%        c) Pressure : 860-1060mbar 
Judgment Test Condition             :      a) Temperature : +25 ± 2℃    b) Humidity : 60-70%        c) Pressure : 860-1060mbar
 

I. PACKING STANDARD


[返回]

收起
展開